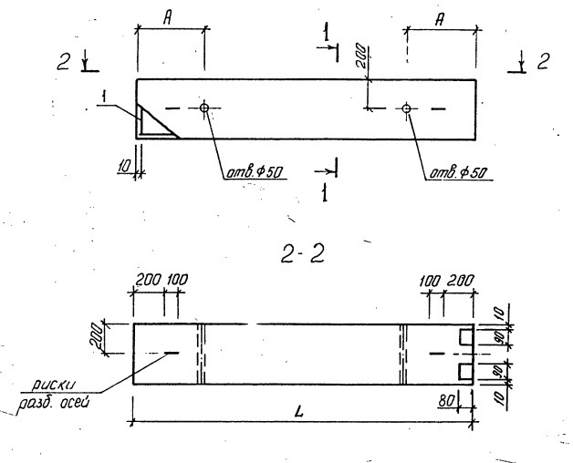
Колонна железобетонная 2КСД 60-60-4-40-00 представляет собой железобетонный элемент сечением 60х60 см и высотой 4 метра. Изготовлена из высококачественного железобетона, что обеспечивает прочность и долговечность конструкции. Используется для строительства зданий и сооружений, где необходима надежная опора или разделение пространства.
Колонна железобетонная 2КСД 60-60-4-40-00 применяется в строительстве многоквартирных домов, промышленных зданий, складов, а также для укрепления и поддержки мостов, пешеходных и автомобильных дорог. Этот элемент железобетонной конструкции обеспечивает надежную опору и стабильность всего сооружения, что делает его необходимым элементом при возведении различных типов зданий и сооружений.









